医院氧气汇流排间设计说明

2022-10-21 标久医用

1、根据GB 50751-2012《医用气体工程技术规范》要求,医用气体中心供氧系统的氧气储存应设置专用库房,并应符合下列规定:

1)医用气体氧气汇流排不应设置在地下空间或半地下空间、储存库内不得有地沟、暗道,库房内应设置良好的通风、干燥措施;

2)库内气瓶应按品种各自分实瓶区、空瓶区布置,并应设置明显的区域标记和防倾倒措施;

3)瓶库内应防止阳光直射,严禁明火。

2、医用氧气汇流排间不应与医用空气压缩机、真空汇或医用分子筛制氧机设置在同一房间内。输送氧气含量超过23.5%的医用

气体建筑内,但应靠外墙布置,并应采用耐火极限不低地2.0h和墙和甲级防火门与建筑物的其他部分隔开。

3、医用气源站内管道应按现行行业标准《民用建筑电气设计规范》JGJ 16的有关规定进行接地,接地电阻应小于10欧。

4、医院氧气站供应源,必须设置应急备用电源,由院方负责接入。

5、医用氧气的排气管均应接至室外安全处。

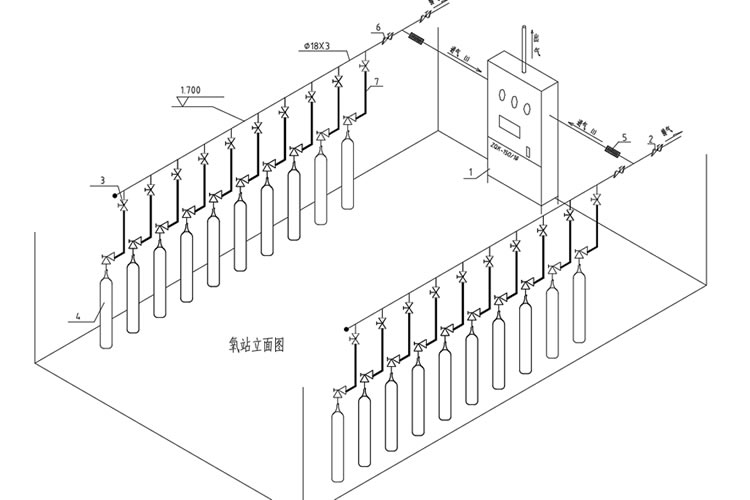
6、瓶氧站位置(图示位置),须经消防部门同意,建设面积为10.5平方(3M*3.5M)房高不低于3200。

7、氧站内严禁烟火,站内所有电器都应采用符合GB3836.4标准要求的防爆电器,由院方负责。

8、氧气管道应接地,接地电阻氧气管道小于。

9、氧站应通风良好,保证氧站内氧气浓度小于23% ,氧站内温度保持在10~38℃之间,由院方负责。

10、防爆风扇预留∅470孔,电机功率为550W,由院方负责。

11、氧站内应采用防爆灯、防爆风扇,防爆开关,由院方提供。

12、室内电线管道除采用镀锌管埋地敷设。

13、氧站门采用防火门应向外开启,防火门尺寸为0.9M*2.2M。


首页
产品
工程
电话